Gå till innehåll
Laddar sidfot
Varukorg
Du har 0 produkter i din varukorg.
Favoriter
Varukorg
Du har 0 produkter i din varukorg.
KampanjerKundserviceKloka RådHitta apotekKundklubbTjänsterVarumärkenDoskund
Sidfot
logo
  • Handla på Apoteket
    • Apotek & öppettider
    • Apoteket+
    • Betalalternativ
    • Leveransalternativ
    • Så e-handlar du
    • Trygg e-handel
  • Support
    • Vanliga frågor & svar
    • Kontakta oss
    • Retur & reklamation
    • Återkallelser
    • Tillgänglighetsredogörelse
  • Recept och läkemedel
    • Allt om läkemedel
    • Hämta ut recept
    • Fullmakter
    • Högkostnadsskyddet
    • Djurrecept
    • Rådgivning om läkemedel
    • Lämna in gammal medicin
  • Om Apoteket
    • Om Apoteket
    • Hållbarhet
    • Jobba på Apoteket
    • Finansiell information
    • Pressrum
  • Mer från Apoteket
    • Apoteket-appen
    • Apodos
    • För vårdgivare & företag
    • För leverantörer
Följ oss
FacebookInstagramYoutube
logo
Trygg e-handelApotek med tillstånd av LäkemedelsverketKlicka här för att kontrollera anmälda e-handlare
KöpvillkorIntegritetspolicyCookiepolicyMedlemsvillkorTillgänglighet
© Apoteket AB 2009 - 2026-04-22 16:49:16 srv 182

Bipacksedel Ponlimsi, inj-vätska, lösning, förfylld spruta 60 mg, 1 styck

Källa: Fass.se

Bipacksedel: Information till användaren

▼ Detta läkemedel är föremål för utökad övervakning. Detta kommer att göra det möjligt att snabbt identifiera ny säkerhetsinformation. Du kan hjälpa till genom att rapportera de biverkningar du eventuellt får. Information om hur du rapporterar biverkningar finns i slutet av avsnitt Biverkningar.

Ponlimsi

60 mg injektionsvätska, lösning i förfylld spruta

denosumab

Läs noga igenom denna bipacksedel innan du börjar ta/använda detta läkemedel. Den innehåller information som är viktig för dig.

Läs noga igenom denna bipacksedel innan du börjar använda detta läkemedel. Den innehåller information som är viktig för dig.

  • Spara denna information, du kan behöva läsa den igen.

  • Om du har ytterligare frågor vänd dig till läkare eller apotekspersonal.

  • Detta läkemedel har ordinerats enbart åt dig. Ge det inte till andra. Det kan skada dem, även om de uppvisar sjukdomstecken som liknar dina.

  • Om du får biverkningar, tala med läkare eller apotekspersonal. Detta gäller även eventuella biverkningar som inte nämns i denna information. Se avsnitt 4.

  • Läkaren kommer att ge dig ett påminnelsekort med viktig säkerhetsinformation som du behöver känna till före och under behandlingen med Ponlimsi.

I denna bipacksedel finner du information om:
1. Vad Ponlimsi är och vad det används för
2. Vad du behöver veta innan du använder Ponlimsi
3. Hur du använder Ponlimsi
4. Eventuella biverkningar
5. Hur Ponlimsi ska förvaras
6. Förpackningens innehåll och övriga upplysningar

1. Vad Ponlimsi är och vad det används för

Vad Ponlimsi är och hur det verkar


Ponlimsi innehåller denosumab, ett protein (en monoklonal antikropp) som hindrar funktionen hos ett annat protein i syfte att motverka förlust av benmassa och behandla osteoporos (benskörhet). Behandling med Ponlimsi gör benvävnaden starkare och minskar risken för benbrott.


Ben är en levande vävnad som hela tiden förnyas. Östrogen bidrar till att hålla benvävnaden frisk. Efter klimakteriet sjunker halterna av östrogen, vilket kan leda till att skelettben blir tunna och sköra. Detta kan leda till ett tillstånd som kallas benskörhet (osteoporos). Även män kan drabbas av osteoporos, vilket kan orsakas av bland annat åldrande och/eller låga halter av det manliga könshormonet testosteron. Även patienter som behandlas med glukokortikoider (t.ex. kortison, prednisolon eller dexametason) kan drabbas. Många patienter med osteoporos har inga symtom men riskerar ändå att bryta ben, särskilt i ryggen, höfterna och handlederna.


Operationer eller läkemedel som används för att stoppa produktionen av östrogen eller testosteron hos patienter med bröst-eller prostatacancer kan också medföra förlust av benmassa. Detta leder till att benen blir svagare och bryts lättare.


Vad Ponlimsi används för


Ponlimsi används för att behandla:

  • osteoporos hos kvinnor efter klimakteriet (postmenopausala) samt män med ökad risk för frakturer (benbrott), för att minska risken för frakturer i ryggrad, höft och andra ben.

  • förlust av benmassa på grund av sänkt hormonhalt (testosteron) till följd av operation eller läkemedelsbehandling hos patienter med prostatacancer.

  • förlust av benmassa på grund av långtidsbehandling med glukokortikoider (t.ex. kortison, prednisolon eller dexametason) hos patienter som löper ökad risk för frakturer.

2. Vad du behöver veta innan du använder Ponlimsi

Använd inte Ponlimsi

  • om du har låg kalciumhalt i blodet (hypokalcemi).

  • om du är allergisk mot denosumab eller något annat innehållsämne i detta läkemedel (anges i avsnitt 6).

Varningar och försiktighet

Tala med läkare eller apotekspersonal innan du använder Ponlimsi.


Under behandlingen med Ponlimsi kan du utveckla en hudinfektion med symtom såsom ett svullet, rött hudområde, vanligen på underbenet, som känns varmt eller ömt (cellulit), och eventuellt med febersymtom. Tala omedelbart om för din läkare om du drabbas av något av dessa symtom.


Du bör också ta kalcium- och vitamin D-tillskott under behandlingen med Ponlimsi. Läkaren kommer att prata med dig om detta.


Du kan ha låga kalciumhalter i blodet under behandlingen med Ponlimsi. Tala omedelbart om för läkaren om du drabbas av något av följande symtom: muskelspasmer, -ryckningar eller -kramper och/eller domningar eller stickningar i fingrar, tår eller runt munnen och/eller krampanfall, förvirring eller förlust av medvetande.


Allvarligt låga kalciumhalter i blodet som orsakat sjukhusinläggning och även livshotande reaktioner har rapporterats i sällsynta fall. Därför ska kalciumhalterna i blodet kontrolleras (med blodprov) före varje dos samt, hos patienter med ökad risk för hypokalcemi, inom två veckor efter den första dosen.


Tala om för läkaren om du har eller har haft allvarliga njurbesvär, njursvikt eller har behövt dialysbehandling, eller om du använder läkemedel som kallas glukokortikoider (t.ex. kortison, prednisolon eller dexametason), vilket kan öka din risk att drabbas av låga kalciumhalter i blodet om du inte tar kalciumtillskott.


Problem med munnen, tänderna eller käken

En biverkning som kallas osteonekros i käken (ONJ) (skelettskador i käken) har rapporterats i sällsynta fall (kan förekomma hos upp till 1 av 1 000 användare) hos patienter som får Ponlimsi mot osteoporos. Risken för ONJ ökar hos patienter som behandlas under lång tid (kan förekomma hos upp till 1 av 200 patienter om de behandlats i 10 år). ONJ kan också uppstå då behandlingen är avslutad. Det är viktigt att försöka förhindra ONJ från att utvecklas, eftersom det kan vara ett smärtsamt tillstånd som är svårt att behandla. För att minska risken för att utveckla ONJ ska du iaktta följande försiktighetsåtgärder:

Före behandlingen ska du tala om för läkaren eller sjuksköterskan (vårdpersonal) om du:

  • har några problem med din mun eller tänder, som dålig tandhälsa, tandköttssjukdomar eller planerade tandutdragningar.

  • inte går på regelbundna tandkontroller eller inte har varit på en undersökning hos tandläkaren på länge.

  • är rökare (eftersom det kan öka risken för tandproblem).

  • tidigare har behandlats med en bisfosfonat (som används för att behandla eller förhindra skelettsjukdomar).

  • använder läkemedel som kallas kortikosteroider (som prednisolon eller dexametason).

  • har cancer.

Läkaren kan be dig att genomgå en tandläkarundersökning innan du påbörjar behandling med Ponlimsi.


Under behandlingen ska du hålla god munhygien och gå på regelbundna tandläkarbesök. Om du använder tandprotes ska du se till att den sitter bra. Om du genomgår tandläkarbehandling eller ska genomgå en tandoperation (t.ex tandutdragningar), ska du berätta för läkaren om tandläkarbehandlingen och för tandläkaren att du behandlas med Ponlimsi.


Kontakta omedelbart läkare och tandläkare om du drabbas av problem med munnen eller tänderna, t.ex. lösa tänder, smärta eller svullnad, sår som inte läker eller som utsöndrar vätska, eftersom detta kan vara tecken på ONJ.


Ovanliga lårbensfrakturer

Några patienter har drabbats av ovanliga lårbensfrakturer under tiden som de har behandlats med Ponlimsi. Kontakta läkare om du drabbas av ny eller ovanlig smärta i höft, ljumske eller lår.

Barn och ungdomar

Ponlimsi ska inte användas av barn och ungdomar under 18 års ålder.

Andra läkemedel och Ponlimsi

Tala om för läkare eller apotekspersonal om du tar, nyligen har tagit eller kan tänkas ta andra läkemedel. Det är särskilt viktigt att du talar om för läkare om du behandlas med något annat läkemedel som innehåller denosumab.

Du bör inte ta Ponlimsi tillsammans med andra läkemedel som innehåller denosumab.

Graviditet och amning

Ponlimsi har inte testats på gravida kvinnor. Det är viktigt att du berättar för läkaren om du är gravid, tror att du kan vara gravid eller planerar att bli gravid. Det rekommenderas inte att du använder Ponlimsi om du är gravid. Kvinnor i fertil ålder ska använda en effektiv preventivmetod när de behandlas med Ponlimsi och i minst 5 månader efter att behandlingen med Ponlimsi har avslutats.


Om du blir gravid under behandling med Ponlimsi eller inom 5 månader efter att behandlingen med Ponlimsi har avslutats, ska du tala om det för din läkare.


Det är inte känt om Ponlimsi utsöndras i bröstmjölk. Det är viktigt att du berättar för läkaren om du ammar eller planerar att göra det. Läkaren kommer att hjälpa dig att besluta om du ska sluta att amma eller sluta att ta Ponlimsi med hänsyn tagen till barnets nytta av att ammas och din nytta av Ponlimsi.


Om du ammar under behandling med Ponlimsi, ska du tala om det för din läkare.


Rådfråga läkare eller apotekspersonal innan du tar något läkemedel.

Körförmåga och användning av maskiner

Ponlimsi har ingen eller försumbar effekt på förmågan att köra och använda maskiner.

Ponlimsi innehåller hjälpämnen

Ponlimsi innehåller sorbitol


Detta läkemedel innehåller 47 mg sorbitol per ml lösning.


Ponlimsi innehåller natrium


Detta läkemedel innehåller mindre än 1 mmol (23 mg) natrium per 60 mg, d.v.s. är näst intill ”natriumfritt”.


Ponlimsi innehåller polysorbat 20


Detta läkemedel innehåller 0,1 mg polysorbat 20 per spruta motsvarande 0,1 mg/ml. Polysorbater kan orsaka allergiska reaktioner. Tala om för din läkare om du har några kända allergier.

3. Hur du använder Ponlimsi

Rekommenderad dos är en förfylld spruta med 60 mg given en gång var 6:e månad, som en engångsinjektion under huden (subkutant). De bästa injektionsställena är högt uppe på låren och på magen. Din vårdgivare kan också använda utsidan av överarmarna. Rådgör med läkaren om vilket datum du ska få en eventuell nästa injektion.


Du bör också ta kalcium- och vitamin D-tillskott under behandlingen med Ponlimsi. Läkaren kommer att prata med dig om detta.


Läkaren kan besluta att det är bäst att du eller en vårdgivare injicerar Ponlimsi. Läkaren eller sjukvårdspersonalen kommer att visa dig eller din vårdgivare hur Ponlimsi ska användas. För anvisningar om hur det går till att injicera Ponlimsi, läs avsnittet i slutet av denna bipacksedel.


Får ej skakas.

Om du har glömt att använda Ponlimsi

Om du glömmer att ta en dos av Ponlimsi, ska injektionen tas så snart som möjligt. Därefter ska injektioner tas var 6:e månad från datumet för den senaste injektionen.

Om du slutar att använda Ponlimsi

För att få så stor nytta som möjligt av behandlingen gällande minskad risk för frakturer, är det viktigt att du använder Ponlimsi så länge som läkaren ordinerar det. Avsluta inte behandlingen utan att kontakta din läkare.

4. Eventuella biverkningar

Liksom alla läkemedel kan detta läkemedel orsaka biverkningar, men alla användare behöver inte få dem.


I mindre vanliga fall kan patienter som får Ponlimsi utveckla hudinfektioner (främst cellulit). Tala omedelbart om för din läkare om du utvecklar något av följande symtom medan du behandlas med Ponlimsi: svullna, röda hudområden, vanligen på underbenen, som känns varma och ömma, eventuellt med symtom på feber.


I sällsynta fall kan patienter som får Ponlimsi drabbas av smärta i munnen och/eller käken, svullnad eller sår som inte läker i munnen eller käken, sår som utsöndrar vätska, domningar eller tunghetskänsla i käken, eller tandlossning. Detta kan vara tecken på skelettskador i käken (osteonekros). Tala omedelbart om för läkare och tandläkare om du drabbas av sådana symtom under tiden som du behandlas med Ponlimsi eller när behandlingen är avslutad.


I sällsynta fall kan patienter som får Ponlimsi drabbas av låga kalciumhalter i blodet (hypokalcemi). Allvarligt låga kalciumhalter i blodet kan orsaka sjukhusinläggning och även vara livshotande. Symtomen är bland annat spasmer, ryckningar eller kramp i musklerna, och/eller domningar eller stickningar i fingrarna, tårna eller runt munnen och/eller krampanfall, förvirring eller förlust av medvetandet. Om du drabbas av något av detta ska du omedelbart kontakta läkare. Låga kalciumhalter i blodet kan också leda till en förändring i hjärtrytmen som kallas förlängt QT-intervall, vilket observeras med hjälp av elektrokardiografi (EKG).


I sällsynta fall kan ovanliga lårbensfrakturer inträffa hos patienter som tar Ponlimsi. Kontakta läkare om du drabbas av ny eller ovanlig smärta i höft, ljumske eller lår, eftersom det kan vara ett tidigt tecken på en eventuell lårbensfraktur.


I sällsynta fall kan patienter som tar Ponlimsi drabbas av allergiska reaktioner. Symtomen innefattar svullnad av ansikte, läppar, tunga, svalg eller andra delar av kroppen; hudutslag, klåda eller nässelutslag, väsande andning eller andningssvårigheter. Tala om för din läkare om du utvecklar något av dessa symtom medan du behandlas med Ponlimsi.


Mycket vanliga biverkningar (kan förekomma hos fler än 1 av 10 användare):

  • smärta i skelettet, lederna och/eller musklerna som ibland är kraftig,

  • värk i arm eller ben (smärta i extremitet).

Vanliga biverkningar (kan förekomma hos upp till 1 av 10 användare):

  • smärtsam blåstömning, täta blåstömningar, blod i urinen, oförmåga att hålla urinen,

  • övre luftvägsinfektion,

  • smärta, stickningar eller domning som förflyttas nedåt benet (ischias),

  • förstoppning,

  • magbesvär,

  • hudutslag,

  • klåda, rodnad och/eller torr hud (eksem),

  • håravfall (alopeci).

Mindre vanliga biverkningar (kan förekomma hos upp till 1 av 100 användare):

  • feber, kräkning och magsmärta eller magbesvär (divertikulit),

  • öroninfektion,

  • utslag som kan uppstå på huden eller sår i munnen (likenoida läkemedelsreaktioner).

Mycket sällsynta biverkningar (kan förekomma hos upp till 1 av 10 000 användare):

  • allergiska reaktioner som kan skada blodkärl, huvudsakligen på huden (t.ex. lila eller brunröda fläckar, nässelutslag eller hudsår) (överkänslighetskärlinflammation).

Har rapporterats (förekommer hos ett okänt antal användare):

  • kontakta läkare om du får ont i öronen, om det rinner vätska från örat och/eller om du drabbas av öroninflammation. Detta kan vara tecken på skelettskador i örat.


Rapportering av biverkningar

Om du får biverkningar, tala med läkare, apotekspersonal eller sjuksköterska. Detta gäller även eventuella biverkningar som inte nämns i denna information. Du kan också rapportera eventuella biverkningar direkt till Läkemedelsverket, www.lakemedelsverket.se. Genom att rapportera biverkningar kan du bidra till att öka informationen om läkemedels säkerhet.

Läkemedelsverket
Box 26
751 03 Uppsala

5. Hur Ponlimsi ska förvaras

Förvara detta läkemedel utom syn- och räckhåll för barn.


Används före utgångsdatum som anges på etiketten och kartongen efter EXP. Utgångsdatumet är den sista dagen i angiven månad.


Förvaras i kylskåp (2 °C–8 °C).

Får ej frysas.


Förvara den förfyllda sprutan i ytterkartongen. Ljuskänsligt.


Du kan låta den förfyllda sprutan ligga utanför kylskåpet så att den når rumstemperatur (upp till 30 °C) före injektionen. Detta gör injektionen behagligare. När sprutan har tagits ut ur kylskåpet och antagit rumstemperatur (upp till 30 °C) ska den inte läggas tillbaka i kylskåpet, och den måste användas inom 32 dagar.


Läkemedel ska inte kastas i avloppet eller bland hushållsavfall. Fråga apotekspersonalen hur man kastar läkemedel som inte längre används. Dessa åtgärder är till för att skydda miljön.

6. Förpackningens innehåll och övriga upplysningar

Innehållsdeklaration

  • Den aktiva substansen är denosumab. 1 ml av injektionsvätskan i den förfyllda sprutan innehåller 60 mg denosumab (60 mg/ml).

  • Övriga innehållsämnen är natriumacetattrihydrat, ättiksyra (koncentrerad), sorbitol (E420), polysorbat 20 och vatten för injektionsvätskor.

Läkemedlets utseende och förpackningsstorlekar

Ponlimsi är en klar till opaliserande, färglös till svagt gul lösning för injektion som levereras i bruksfärdiga, förfyllda sprutor.


Varje förpackning innehåller en förfylld spruta med nålskydd.

Innehavare av godkännande för försäljning

TEVA GmbH

Graf-Arco-Strasse 3

89079 Ulm

Tyskland


Tillverkare

Merckle GmbH

Graf-Arco-Strasse 3

89079 Ulm

Tyskland


Kontakta ombudet för innehavaren av godkännandet för försäljning om du vill veta mer om detta läkemedel:

België/Belgique/Belgien

Teva Pharma Belgium N.V./S.A./AG

Tél/Tel: +32 38207373

Lietuva

UAB Teva Baltics

Tel: +370 52660203


България

Тева Фарма ЕАД

Teл.: +359 24899585


Luxembourg/Luxemburg

Teva Pharma Belgium N.V./S.A./AG

Tél/Tel: +32 38207373


Česká republika

Teva Pharmaceuticals CR, s.r.o.

Tel: +420 251007111


Magyarország

Teva Gyógyszergyár Zrt.

Tel.: +36 12886400


Danmark

Teva Denmark A/S

Tlf.: +45 44985511

Malta

TEVA HELLAS Α.Ε.

il-Greċja

Tel: +30 2118805000

Deutschland

ratiopharm GmbH

Tel: +49 (0) 73140202

Nederland

Teva Nederland B.V.

Tel: +31 8000228400

Eesti

UAB Teva Baltics Eesti filiaal

Tel: +372 6610801

Norge

Teva Norway AS

Tlf: +47 66775590


Ελλάδα

TEVA HELLAS Α.Ε.

Τηλ: +30 2118805000

Österreich

ratiopharm Arzneimittel Vertriebs-GmbH

Tel: +43 1970070


España

Grünenthal Pharma, S.A.

Tel: +34 (91) 301 93 00

Polska

Teva Pharmaceuticals Polska Sp. z o.o.

Tel.: +48 223459300

France

Teva Santé

Tél: +33 155917800


Portugal

Teva Pharma - Produtos Farmacêuticos, Lda.

Tel: +351 214767550


Hrvatska

Pliva Hrvatska d.o.o.

Tel: +385 13720000


România

Teva Pharmaceuticals S.R.L.

Tel: +40 212306524


Ireland

Teva Pharmaceuticals Ireland

Tel: +44 2075407117


Slovenija

Pliva Ljubljana d.o.o.

Tel: +386 15890390

Ísland

Teva Pharma Iceland ehf.

Sími: +354 5503300


Slovenská republika

TEVA Pharmaceuticals Slovakia s.r.o.

Tel: +421 257267911

Italia

Teva Italia S.r.l.

Tel: +39 028917981


Suomi/Finland

Teva Finland Oy

Puh/Tel: +358 201805900


Κύπρος

TEVA HELLAS Α.Ε.

Ελλάδα

Τηλ: +30 2118805000

Sverige

Teva Sweden AB

Tel: +46 42121100


Latvija

UAB Teva Baltics filiāle Latvijā

Tel: +371 67323666

Denna bipacksedel ändrades senast: 01/2026

Övriga informationskällor

Ytterligare information om detta läkemedel finns på Europeiska läkemedelsmyndighetens webbplats https://www.ema.europa.eu

Instruktioner för användning

Förklaring av delar

Före användning

Efter användning

Bild 1Bild 2

Viktigt

Innan du använder Ponlimsi förfylld spruta med automatiskt nålskydd, läs denna viktiga information:

  • Det är viktigt att du inte försöker ge dig själv en injektion såvida du inte fått träna tillsammans med din läkare eller sjukvårdspersonal.

  • Ponlimsi ges som en injektion i vävnaden precis under huden (subkutan injektion).

X     Ta inte av den grå nålhylsan från den förfyllda sprutan förrän du är redo att injicera.

X       Använd inte den förfyllda sprutan om den har tappats på en hård yta. Använd en ny förfylld spruta och kontakta din läkare eller sjukvårdspersonal.

X       Försök inte att aktivera den förfyllda sprutan före injektion.

X       Försök inte att ta av det genomskinliga nålskyddet från den förfyllda sprutan.


Kontakta din läkare eller sjukvårdspersonal om du har några frågor.

Steg 1: Förbered

A

Ta ut tråget med den förfyllda sprutan från ytterförpackningen och samla ihop de saker du behöver för din injektion; spritservetter, en bomullstuss eller kompresser, ett plåster och en behållare för stickande och skärande avfall (medföljer ej).

För en behagligare injektion, låt den förfyllda sprutan ligga i rumstemperatur i cirka 30 minuter före injektion. Tvätta dina händer noga med tvål och vatten.


Lägg den nya förfyllda sprutan samt övrig utrustning på en ren plats med god belysning.

X       Försök inte att värma den förfyllda sprutan med hjälp av en värmekälla såsom varmt vatten eller mikrovågsugn.

X       Låt inte den förfyllda sprutan ligga i direkt solljus.

X       Skaka inte den förfyllda sprutan.


  • Förvara den förfyllda sprutan utom syn- och räckhåll för barn.

B

Öppna tråget genom att dra av skyddsplasten. Greppa över nålskyddet för att lyfta ur den förfyllda sprutan från tråget.

Bild 3

Av säkerhetsskäl:

X       Lyft inte i kolven.

X       Lyft inte i den grå nålhylsan.

C

Kontrollera läkemedlet och den förfyllda sprutan.

Bild 4

X       Använd inte den förfyllda sprutan om:

  • Läkemedlet är grumligt eller innehåller partiklar. Det måste vara en klar till opaliserande, färglös till svagt gul lösning.

  • Någon del verkar sprucken eller trasig.

  • Den grå nålhylsan saknas eller sitter löst.

  • Utgångsdatumet som står på etiketten har passerat den sista dagen i angiven månad.

I samtliga fall ska du kontakta läkare eller sjukvårdspersonal.

Steg 2: Gör dig redo

A

Tvätta dina händer noggrant. Förbered och rengör injektionsstället.

Bild 5

Lämpliga injektionsställen:

  • Övre delen av låren.

  • Buken, dock ej närmare än 5 cm från naveln.

  • Utsidan av överarmen (endast om någon annan ger dig injektionen).

Rengör injektionsstället med en spritservett. Låt huden torka.


X       Rör inte injektionsstället före injektionen.


UtropsteckenInjicera inte i områden där huden ömmar, har blåmärken, är röd eller hård. Undvik att injicera i områden med ärr eller bristningar.

B

Dra varsamt av den grå nålhylsan rakt ut och bort från kroppen.

Bild 6

C

Nyp ihop huden runt injektionsstället för att få en spänd yta.

Bild 7

UtropsteckenDet är viktigt att hålla huden spänd under hela injektionen.

Steg 3: Injicera

A

Fortsätt att nypa ihop huden. STICK IN nålen i huden.

Bild 8

X       Rör inte det rengjorda hudområdet.

B

TRYCK kolven långsamt med ett jämnt tryck tills du känner eller hör ett ”klick”. Tryck hela vägen genom klicket.

Bild 9

UtropsteckenDet är viktigt att trycka genom ”klicket” för att hela dosen ska injiceras.

C

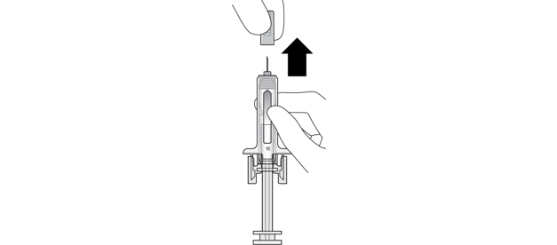
SLÄPP tummen. LYFT sedan bort sprutan från huden.

Bild 10

Efter att ha släppt kolven kommer nålskyddet att täcka nålen.

X       Sätt inte tillbaka den grå nålhylsan på den använda förfyllda sprutan.

Steg 4: Slutför

A

Kasta den använda förfyllda sprutan och annat material i behållaren för stickande och skärande avfall.

Bild 11

Läkemedel ska kastas i enlighet med lokala bestämmelser. Fråga apotekspersonalen hur man kastar läkemedel som inte längre används. Dessa åtgärder är till för att skydda miljön.


Förvara sprutan och behållaren för stickande och skärande avfall utom syn- och räckhåll för barn.

X       Återanvänd inte den förfyllda sprutan.

X       Återvinn inte förfyllda sprutor och kasta dem inte bland hushållsavfall.

B

Kontrollera injektionsstället.

Om det blöder kan du trycka en bomullstuss eller kompress mot injektionsstället. Gnugga inte på injektionsstället.

Vid behov kan du sätta på ett plåster.